黃銅立式(shi)止回閥
産品(pǐn)型号:H12X-16T
公稱壓(ya)力:1.0MPa
工作介質(zhi):水、非腐蝕性(xing)液體、飽和蒸(zhēng)汽(≤0琉璃神社H全彩本子🚩大全🌈.6MPa)
管螺紋标準(zhun):符合ISO228标準
産(chan)品詳情
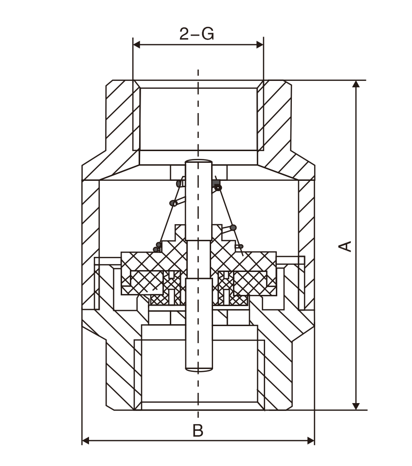
主(zhǔ)要外形尺寸(cùn)
|
DN(mm) |
NPS(in) |
B |
G |
SW | |
|
10 |
3/8 |
44 |
3/8 |
- | |
|
15 |
1/2 |
49 |
32 |
1/2 |
26.5 |
|
20 |
3/4 |
39 |
3/4 |
30 | |
|
25 |
1 |
59 |
1 |
38 |
蘇公網(wǎng)安備 32010202011315号