微量排氣閥
發(fa)布時間:2025-11-30

産品概(gai)述
微量排氣閥(fa)在一般情況下(xià),水中約含2VOL%的溶(rong)解空氣✊,主輸水(shui)過程中,這些空(kōng)氣由水中不斷(duan)地釋放出來,聚(ju)集在管線的高(gāo)點處,形成空氣(qì)袋(AIR POCKET),使輸水變得(dé)困難,系統的輸(shū)水能力可因此(ci)下降約5-15%。此微量(liang)f🔞ofo事件🌈排氣閥⛷️主要功(gōng)能就是排除🛀這(zhè)2VOL%的溶解空氣,并(bing)适合裝置于💋高(gāo)層建築,廠👈區内(nei)配管,小👈型泵站(zhàn)用以保護或改(gǎi)善系統的輸水(shuǐ)效率及節約能(néng)源。
單杆式(SIMPLE LEVERTYPE)微量(liàng)排氣閥,爲一類(lèi)似橢圓形閥體(ti),内部所有零📱件(jian)包括浮球、杠杆(gǎn)、杠架、閥座、等均(jun)爲304SS不鏽鋼,内部(bù)使标準排氣孔(kǒng)徑1/16",适合用于PN16工(gong)作壓力環璋。準(zhun)排氣孔徑1/16",适合(hé)用🈲于PN16工作壓力(li)環璋。
主要零件(jian)材料
名稱:閥蓋(gai)、閥體、浮球、杠杆(gan)、杠杆架、 塞頭
材(cai)質:球墨鑄鐵、304不(bu)鏽鋼、合成橡膠(jiāo)、全銅

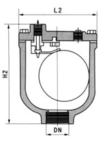
主要連接(jie)尺寸
| DN | 10(3/8″) | 15(1/2″) | 20(3/4″) | 25(1″) |
L1 | 47 | 47 | 47 | 47 |
H1 | 113 | 113 | 113 | 113 |
L2 | 102 | 102 | 102 | 102 |
H2 | 127 | 127 | 127 | 127 |







蘇公(gong)網安備 32010202011315号